Руководство по обслуживанию и ремонту Honda Jazz/Fit
2 поколения


Honda Jazz/Fit

  • Общая информация
  • Спецификация
  • График техобслуживания
  • Двигатель
  • Топливо и система снижения токсичности
  • Трансмиссия
  • Рулевое управление
  • Подвеска
  • Тормозная система
  • HVAC (Система отопителя, вентилятора, кондиционера)
  • Кузов
  • Средства безопасности
  • Поиск неисправностей DTC
  • Схемы электропроводки

  • Правила безопасности при работе

    Применимость для следующих годов выпуска и кузовов: 2009, GE6, GE8, GG1, GG2, GG3

    Общее описание
    При работе выполняйте все указанные меры предосторожности и примечания.

    • Защищите все окрашенные поверхности и обивку сидений от попадания грязи и царапин с помощью чистой ткани или виниловой пленки.

    • Работайте безопасно и уделяйте работе все ваше внимание, не отвлекаясь. При необходимости поднять передние или задние колеса надежно заблокируйте колеса, стоящие на земле. Как можно чаще общайтесь с коллегами, если работа требует участия двух или более человек. Не запускайте двигатель, пока не будет обеспечена хорошая вентиляция помещения мастерской или зоны проведения работ.

    • Перед снятием или разборкой узлов и деталей тщательно проверьте их, чтобы определить причину неисправности. Соблюдайте все указания по безопасности и меры предосторожности и правильно выполняйте процедуры, как указано в данном руководстве.

    • Маркируйте или кладите все снятые детали в определенном порядке на стеллажи для снятых деталей, чтобы их можно было установить при сборке в правильное место.

    • Используйте специальное приспособление, когда требуется использование такого приспособления.

    • Детали должны устанавливаться при затяжке крепежных элементов указанным моментом в соответствии с указаниями, приводимыми в руководстве по обслуживанию и ремонту.
    • При затяжке нескольких болтов или гаек начинайте с центрального крепежного элемента либо имеющего больший диаметр и затягивайте их в направлении "крест-накрест" в две или более стадий.

    • Используйте новые уплотнители, прокладки, уплотнительные кольца и шплинты при любой операции повторной сборки.
    • Запрещено повторно использовать детали, которые требуют замены. Всегда заменяйте их.

    • Используйте оригинальные детали и смазочные материалы марки Honda или эквивалентные им. Если детали должны повторно использоваться, их требуется тщательно проверить, чтобы убедиться, что они не повреждены или сломаны и находятся в хорошем работоспособном состоянии.


    • Тормозная жидкость и элементы гидравлической системы.
    • -
      При заполнении системы тормозной жидкостью будьте особенно осторожны, чтобы не допустить попадания внутрь контура грязи и пыли.
      -
      Запрещено смешивать рабочие жидкости различных марок, поскольку они могут оказаться несовместимыми.
      -
      Не используйте повторно слитую тормозную жидкость.
      -
      Поскольку тормозная жидкость может повредить окрашенные поверхности и поверхности из синтетических материалов, необходимо проявлять осторожность, чтобы жидкость не попала на эти поверхности. При случайном попадании тормозной жидкости на окрашенные поверхности или поверхности из синтетических материалов быстро смойте ее струей холодной или теплой воды.
      -
      После отсоединения тормозных шлангов или трубок убедитесь, что вы заглушили все открытые отверстия, чтобы избежать вытекания тормозной жидкости.
      -
      Промойте все снятые детали только ЧИСТОЙ ТОРМОЗНОЙ ЖИДКОСТЬЮ. Продуйте все открытые каналы и отверстия трубок сжатым воздухом.
      -
      Защитите снятые детали от попадания внутрь содержащей в атмосфере пыли и абразива.
      -
      Убедитесь в чистоте деталей перед началом сборки.

    • Следите за тем, чтобы масло или консистентная смазка не попали на поверхности резиновых деталей или шлангов, если это специально не предусмотрено.
    • Будьте осторожны при нанесении силиконовой смазки, не допускайте ее попадания на клеммы разъемов и выключатели, особенно если смазка имеется у вас на руках или перчатках.
    • При нанесении аэрозоля, содержащего силикон, закрывайте его ветошью или пластиковым пакетом, чтобы не допустить попадания на клеммы разъемов и выключатели.
    • Сразу после сборки проверьте правильность установки и работы каждой детали.

    Информация по поиску неисправностей электрооборудования

    Перед началом поиска неисправностей

    1. Проверьте электрические предохранители, расположенные в соответсвующем блоке предохранителей и реле.
    1. Проверьте отсутствие повреждений и степень заряженности аккумуляторной батареи, очистите и затяните выводы батареи и клеммы кабелей.
      • Запрещено использовать режим быстрой зарядки аккумуляторной батареи, пока кабель "массы" не будет отсоединен; в противном случае вы выведите из строя диоды генератора.
      • Не пытайтесь запустить двигатель при неплотно затянутом отрицательном кабеле; в противном случае вы серьезно повредите электропроводку.
    1. Проверьте натяжение приводного ремня.


    Работа с электрическими разъемами

    • Убедитесь, что разъемы чистые и все провода надежно присоединены к клеммам.
    • Убедитесь, что многополостные разъемы заполнены смазкой (за исключением водонепроницаемых разъемов).
    • Все разъемы имеют замки (А), отпирающиеся при нажатии.

    • Некоторые разъемы имеют фиксатор на боковой поверхности, преназначенный для их крепления к удерживающей скобе на кузове или к другому элементу. Этот фиксатор имеет замок, который открывается, если потянуть за него.
    • Некоторые установленные разъемы не могут быть отсоединены, пока вы вначале не раскроете замок и не снимите разъем с кронштейна (А).

    • Не пытайтесь раскрыть разъемы, потянув за идущие к ним жгуты проводов; вместо этого потяните за половинки разъемов.
    • Всегда устанавливайте на место пластиковые крышки.

    • Перед установкой разъемов убедитесь, что клеммы (А) находятся на месте и не погнуты.

    • Проверьте, не отсутствует ли удерживающий элемент (А) и резиновые уплотнители (В).

    • Задние поверхности некоторых разъемов покрыты смазкой. При необходимости добавьте смазку. Если смазка загрязнена, замените ее.

    • Вставьте разъем, чтобы он вошел полностью, и убедитесь, что он надежно заперт.
    • Расположите провода так, чтобы открытый конец крышки был направлен вниз.


    Работа с проводами и жгутами проводов

    • Закрепляйте провода и жгуты проводов на раме с помощью соответствующих фиксаторов в указанных точках.
    • Снимайте фиксаторы осторожно; следите за тем, чтобы не сломать их замков (А).

    • Вставьте плоскогубцы (А) под фиксатор через отверстие под углом, затем сожмите удерживающие лапки, чтобы освободить фиксатор.

    • После установки фиксаторов, удерживающих жгут проводов, убедитесь, что жгут не касается вращающихся деталей.
    • Расположите жгуты проводов как можно дальше от выхлопных труб и других горячих деталей, от острых кромок кронштейнов и отверстий, а также от выступающих винтов и болтов.
    • Правильно расположите изолирующие втулки в их желобах (А). Не оставляйте в неправильном положении изолирующие втулки (В).


    Тестирование и ремонт

    • Не используйте провода или жгуты проводов с поврежденной изоляцией. Замените их или отремонтируйте их, обмотав поврежденное место изоляционной лентой.
    • После установки деталей убедитесь, что под ними не осталось зажатых проводов.
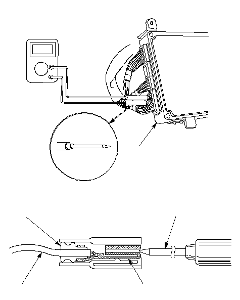
    • При использовании электрического оборудования для тестирования и диагностики выполняйте инструкции изготовителей приборов и данного Руководства.
    • По возможности, вставляйте штырь тестера в колодку разъема со стороны провода (за исключением влагонепроницаемых разъемов).

    • Используйте штыри тестеров с конусными концами.
    • См. инструкции комплекта "Honda Terminal Kit" (комплект для работы с клеммами разъемов) для идентификации и замены клемм разъема.
    • Протыкание изоляции на проводе может привести к плохому качеству или периодическому разрыву электрического соединения.
    • При проверке разъемов подводите штырь тестера для контакта с клеммой со стороны разъема для разъемов жгутов электрических проводов в моторном отделении.
      Для охватывающих разъемов достаточно слегка коснуться штырем тестера клеммы и не вставлять глубоко штырь.


    При проверке клемм разъема любого управляющего модуля(ей) или элемента(ов) необходимо, не нажимая, скользить острым штырем тестера со стороны провода внутрь разъема, пока штырь не коснется клемммы, соединенной с концом провода.

    Пятиступенчатый поиск неисправностей
    1. Проверьте жалобу
      Включите все элементы цепи, в которой возникла проблема, чтобы проверить жалобу клиента. Запишите проявления неисправности. Не начинайте разборку или проверку, пока вы не сузите область поисков неисправности.
    1. Проведите анализ электрической схемы
      Просмотрите электрическую схему и найдите цепь, в которой возникла проблема Определите, как должна работать данная цепь, путем трассировки пути движения электрического тока от источника питания через элементы цепи на "массу". Если одновременно вышли из строя несколько цепей, наиболее вероятной причиной является сгоревший электрический предохранитель или нарушение соединения с "массой".
      На основе проявлений неисправности и вашего собственного понимания принципа работы электрической цепи определите одну или несколько возможных причин неисправности.
    1. Выделите неисправность путем тестирования цепи
      Проведите тесты цепи, чтобы проверить диагностику, которую вы выполнили Этап 2 . Имейте в виду, что простые логичные процедуры являются ключом к эффективному поиску неисправностей. Вначале проверьте наиболее вероятную причину неисправности. Старайтесь проводить проверки в точках, которые легко доступны.
    1. Определите неисправность
      Как только конкретная неисправность будет определена, выполните ремонт. Убедитесь, что вы используете правильные инструменты и безопасные процедуры.
    1. Убедитесь, что цепь работает
      Включите все элементы, входящие в отремонтированную цепь, чтобы убедиться, что вы правильно определили и устранили неисправность. Если неисправность заключается в сгоревшем электрическом предохранителе, убедитесь, что вы проверили все цепи, связанные с этим предохранителем. Убедитесь, что новые неисправности не возникают, а прежняя неисправность устранена.

    Коды цветов проводов
    Следующие аббревиатуры используются для обозначения цветов проводов в электрических схемах:
    WHT. 
    Белый
    YEL. 
    Желтый
    BLK. 
    Черный
    BLU. 
    Синий
    GRN. 
    Зеленый
    RED. 
    Красный
    ORN. 
    Оранжевый
    PNK. 
    Розовый
    BRN. 
    Коричневый
    GRY. 
    Серый
    PUR. 
    Темно-красный
    LT BLU. 
    Голубой
    LT GRN. 
    Светло-зеленый

    Изоляция проводов имеет один цвет или один цвет с полосами другого цвета. Второй цвет - это цвет полосок.