Руководство по обслуживанию и ремонту Honda Jazz/Fit
2 поколения


Honda Jazz/Fit

  • Общая информация
  • Спецификация
  • График техобслуживания
  • Двигатель
  • Топливо и система снижения токсичности
  • Трансмиссия
  • Рулевое управление
  • Подвеска
  • Тормозная система
  • HVAC (Система отопителя, вентилятора, кондиционера)
  • Кузов
  • Средства безопасности
  • Поиск неисправностей DTC
  • Схемы электропроводки

  • Поиск неисправностей АБС по кодам DTC: 86-24, 86-25

    Применимость для следующих годов выпуска и кузовов: 2009, GE6, GE8, GG1, GG2, GG3

    DTC 86-24:
     Неисправность связи F-CAN с двигателем
    DTC 86-25:
     Неисправность связи F-CAN с двигателем
    1. Включите зажигание, повернув ключ в положение ON (II).
    1. Сотрите сообщение с кодом неисправности DTC с помощью HDS.
    1. Проверьте работу автомобиля на ходу. Проверьте автомобиль во время движения со скоростью 10 км/ч или больше.
      ПРИМЕЧАНИЕ: Ведите автомобиль по прямому участку дороги, а не в гору.
    1. Проверьте при помощи HDS, записаны ли в память какие-либо коды неисправностей.
    Выводятся коды DTC 86-24 и/или 86-25?
    ДА -
    Перейдите к Этап 5 .
    НЕТ -
    Пропадающая неисправность, на момент проверки система исправна. Проверьте надежность контакта и крепления клемм между разъемом А (49P) блока ECM/PCM и 25Р разъемом блока управления-модулятора ABS. См. раздел поиска пропадающих неисправностей.
    1. Поверните ключ зажигания в положение блокировки "LOCK" (0).
    1. Короткое замыкание между линией SCS и диагностической системой HDS.
    1. Отсоедините (49Р) разъем А компьютера ЕСМ/РСМ.
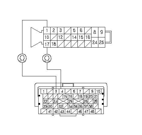
    1. Проверьте неразрывность цепи между клеммой 25Р разъема блока управления-модулятора ABS и клеммой разъема А (49Р) блока ECM/PCM (см. таблицу).
      Обозначение
      Клемма 25Р разъема блока управления-модулятора ABS
      Клемма разъема A (49P) ECM/PCM
      CAN-L
      17
      4
      CAN-H
      1
      3

    Непрерывно ли соединение?
    ДА -
    Перейдите к Этап 10 .
    НЕТ -
    Устраните разрыв в цепи между блоком ECM/PCM и блоком управления-модулятора ABS.■
    1. Заново подсоедините все разъемы.
    1. Сотрите сообщение с кодом неисправности DTC с помощью HDS.
    1. Проверьте работу автомобиля на ходу. Проверьте автомобиль во время движения со скоростью 10 км/ч или больше.
      ПРИМЕЧАНИЕ: Ведите автомобиль по прямому участку дороги, а не в гору.
    1. Проверьте при помощи HDS, записаны ли в память какие-либо коды неисправностей.
    Выводятся коды DTC 86-24 и/или 86-25?
    ДА -
    НЕТ -
    Если было обновлено программное обеспечение блока ECM/PCM, процедура поиска неисправностей завершена. Если блок ЕСМ/РСМ был временно заменен, замените изначально установленный блок ECM/PCM.