Руководство по обслуживанию и ремонту Honda Jazz/Fit
2 поколения


Honda Jazz/Fit

  • Общая информация
  • Спецификация
  • График техобслуживания
  • Двигатель
  • Топливо и система снижения токсичности
  • Трансмиссия
  • Рулевое управление
  • Подвеска
  • Тормозная система
  • HVAC (Система отопителя, вентилятора, кондиционера)
  • Кузов
  • Средства безопасности
  • Поиск неисправностей DTC
  • Схемы электропроводки

  • Поиск неисправностей по кодам (DTC): P0351, P0352, P0353, P0354

    Применимость для следующих годов выпуска и кузовов: 2009, GE6, GE8, GG1, GG2, GG3

    DTC P0351:
     Неисправность в цепи катушки зажигания цилиндра № 1
    DTC P0352:
     Неисправность в цепи катушки зажигания цилиндра № 2
    Код DTC P0353:
     Неисправность в цепи катушки зажигания цилиндра № 3
    Код DTC P0354:
     Неисправность в цепи катушки зажигания цилиндра № 4
    ПРИМЕЧАНИЕ: Перед проведением поиска неисправностей запишите все зафиксированные данные и любые данные бортовой функции "snapshot" и ознакомьтесь с общими инструкциями по устранению неисправностей.
    1. Включите зажигание, повернув ключ в положение ON (II).
    1. Сотрите сообщение с кодом неисправности DTC с помощью HDS.
    1. Запустите двигатель.
    1. Проверьте временные коды DTC или коды DTC с помощью диагностической системы HDS.
    Высвечиваются ли коды неисправности P0351, P0352, P0353 и/или P0354?
    ДА -
    Перейдите к Этап 5 .
    НЕТ -
    Пропадающая неисправность, на момент проверки система исправна. Проверьте качество контакта и надежность крепления клемм катушки зажигания и компьютера ECM/PCM.■
    1. Поверните ключ зажигания в положение блокировки "LOCK" (0).
    1. Запустите двигатель.
    1. Проверьте временные коды DTC или коды DTC с помощью диагностической системы HDS.
    Код DTC высвечивается в положении замененной катушки?
    ДА -
    НЕТ -
    Перейдите к Этап 9 .
    1. Поверните ключ зажигания в положение блокировки "LOCK" (0).
    1. Проверьте предохранитель № 33 IGNITION COIL (15 А) в блоке предохранителей/реле под панелью управления.
    Исправен ли предохранитель?
    ДА -
    Перейдите к Этап 11 .
    НЕТ -
    Перейдите к Этап 12 .
    Реле исправно?
    ДА -
    Перейдите к Этап 15 .
    НЕТ -
    Замените реле катушки зажигания, затем перейдите к Этап 25 .
    Модель ПРК
    Модель ЛРК

    1. Откройте крышку предохранителя (А), затем снимите реле катушки зажигания (В) из блока предохранителей/реле под приборной панелью.
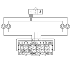
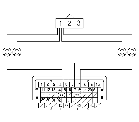
    1. Отсоедините все 3Р разъемы катушек зажигания.
    Модель ПРК
    Модель ЛРК

    1. Проверьте неразрывность соединения между клеммой № 3 3Р разъема 1-й катушки зажигания и "массой" кузова.
    Непрерывно ли соединение?
    ДА -
    Устраните замыкание провода между катушками зажигания и реле катушек зажигания. Также замените предохранитель № 33 IGNITION COIL (15 A), затем перейдите к Этап 25 .
    НЕТ -
    1. Установите реле катушки зажигания.
    1. Отсоедините 3Р разъем катушки зажигания от цилиндра, в котором возникла проблема.
    1. Включите зажигание, повернув ключ в положение ON (II).

    1. Измерьте напряжение между клеммой № 3 3Р катушки зажигания неисправного цилиндра и "массой" кузова (смотрите таблицу).
      НЕИСПРАВНЫЙ ЦИЛИНДР
      DTC
      № 1
      P0351
      № 2
      P0352
      № 3
      P0353
      № 4
      P0354

    Есть ли напряжение аккумулятора?
    ДА -
    Перейдите к Этап 19 .
    НЕТ -
    Устраните разрыв провода между катушкой зажигания и реле катушки зажигания, затем перейдите к Этап 25 .
    1. Поверните ключ зажигания в положение блокировки "LOCK" (0).

    1. Проверьте неразрывность соединения между клеммой № 2 3Р катушки зажигания неисправного цилиндра и "массой" кузова (смотрите таблицу).
      НЕИСПРАВНЫЙ ЦИЛИНДР
      DTC
      № 1
      P0351
      № 2
      P0352
      № 3
      P0353
      № 4
      P0354

    Непрерывно ли соединение?
    ДА -
    Перейдите к Этап 21 .
    НЕТ -
    1. Подсоедините в обход цепи SCS диагностическую систему HDS.
    1. Отсоедините разъем C (49P) блока управления ЕСМ/РСМ.

    1. Проверьте неразрывность цепи между "массой" кузова и соответствующей клеммой разъема компьютера ЕСМ/РСМ неисправного цилиндра (смотрите таблицу).
      НЕИСПРАВНЫЙ ЦИЛИНДР
      DTC
      КЛЕММА БЛОКА ЕСМ/PCM
      ЦВЕТ ПРОВОДА
      № 1
      P0351
      C15
      WHT
      № 2
      P0352
      C16
      WHT/GRN
      № 3
      P0353
      C17
      WHT/BLK
      № 4
      P0354
      C18
      WHT/BLU

    Непрерывно ли соединение?
    ДА -
    Устраните короткое замыкание в проводе между компьютером ECM/PCM и катушкой зажигания, затем перейдите к Этап 25 .
    НЕТ -
    Перейдите к Этап 24 .

    1. Проверьте неразрывность цепи между клеммой № 1 3Р разъема соответствующей катушки зажигания и соответствующей клеммой разъема компьютера ECM/PCM неисправного цилиндра (смотрите таблицу).
      НЕИСПРАВНЫЙ ЦИЛИНДР
      DTC
      КЛЕММА БЛОКА ЕСМ/PCM
      ЦВЕТ ПРОВОДА
      № 1
      P0351
      C15
      WHT
      № 2
      P0352
      C16
      WHT/GRN
      № 3
      P0353
      C17
      WHT/BLK
      № 4
      P0354
      C18
      WHT/BLU

    Непрерывно ли соединение?
    ДА -
    Перейдите к Этап 31 .
    НЕТ -
    Устраните разрыв провода между компьютером ECM/PCM и катушкой зажигания, затем перейдите к Этап 25 .
    1. Поверните ключ зажигания в положение блокировки "LOCK" (0).
    1. Заново подсоедините все разъемы.
    1. Включите зажигание, повернув ключ в положение ON (II).
    1. Сбросьте данные блока управления ECM/PCM при помощи диагностической системы HDS.
    1. Проверьте временные коды DTC или коды DTC с помощью диагностической системы HDS.
    Высвечиваются ли коды неисправности P0351, P0352, P0353 и/или P0354?
    ДА -
    Проверьте качество контакта или надежность крепления клемм катушки зажигания и компьютера ECM/PCM, затем перейдите к Этап 1
    НЕТ -
    Процедура поиска неисправностей завершена. Если выводятся другие временные коды DTC или коды DTC, перейдите к поиску неисправностей в соответствии с указанными кодами DTC.■
    1. Заново подсоедините все разъемы.
    1. Проверьте временные коды DTC или коды DTC с помощью диагностической системы HDS.
    Высвечиваются ли коды неисправности P0351, P0352, P0353 и/или P0354?
    ДА -
    Проверьте качество контакта и надежность крепления клемм катушки зажигания и компьютера ECM/PCM. Если было обновлено программное обеспечение блока ECM/PCM, замените блок ECM/PCM на заведомо исправный, затем проведите повторную проверку. Если модуль ECM/РСМ был заменен, перейдите к Этап 1 .
    НЕТ -
    Если было обновлено программное обеспечение блока ECM/PCM, процедура поиска неисправностей завершена. Если блок ЕСМ/РСМ был временно заменен, замените изначально установленный блок ECM/PCM. Если выводятся другие временные коды DTC или коды DTC, перейдите к поиску неисправностей в соответствии с указанными кодами DTC.■