Руководство по обслуживанию и ремонту Honda Jazz/Fit
2 поколения


Honda Jazz/Fit

  • Общая информация
  • Спецификация
  • График техобслуживания
  • Двигатель
  • Топливо и система снижения токсичности
  • Трансмиссия
  • Рулевое управление
  • Подвеска
  • Тормозная система
  • HVAC (Система отопителя, вентилятора, кондиционера)
  • Кузов
  • Средства безопасности
  • Поиск неисправностей DTC
  • Схемы электропроводки

  • Поиск неисправностей по кодам (DTC): P0107

    Применимость для следующих годов выпуска и кузовов: 2009, GE6, GE8, GG1, GG2, GG3

    DTC P0107:
     Низкое напряжение в цепи датчика МАР
    ПРИМЕЧАНИЕ: Перед проведением поиска неисправностей запишите все зафиксированные данные и любые данные бортовой функции "snapshot" и ознакомьтесь с общими инструкциями по устранению неисправностей.
    1. Включите зажигание, повернув ключ в положение ON (II).
    1. Проверьте датчик абсолютного давления во впускном коллекторе MAP SENSOR в списке данных DATA LIST при помощи диагностического прибора HDS.
    Показывается ли величина примерно равная 3 кПа (26 мм. рт. ст.) или 0,23 В или меньше?
    ДА -
    Перейдите к Этап 3 .
    НЕТ -
    Пропадающая неисправность, на момент проверки система исправна. Проверьте надежность контактов и крепления клемм в датчике MAP и блоке управления ECM/PCM.■
    1. Поверните ключ зажигания в положение блокировки "LOCK" (0).
    1. Отсоедините 3Р разъем датчика МАР.
    1. Включите зажигание, повернув ключ в положение ON (II).
    1. Проверьте датчик абсолютного давления во впускном коллекторе MAP SENSOR в списке данных DATA LIST при помощи диагностического прибора HDS.
    Показывается ли величина примерно равная 3 кПа (26 мм. рт. ст.) или 0,23 В или меньше?
    ДА -
    Перейдите к Этап 12 .
    НЕТ -
    Перейдите к Этап 7 .
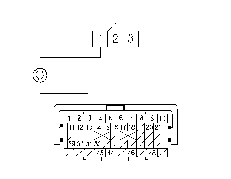
    1. Измерьте напряжение между клеммами № 1 и № 3 3Р разъема датчика МАР.
    Напряжение примерно равно 5 В?
    ДА -
    Перейдите к Этап 16 .
    НЕТ -
    Перейдите к Этап 8 .
    1. Поверните ключ зажигания в положение блокировки "LOCK" (0).
    1. Подсоедините в обход цепи SCS диагностическую систему HDS.
    1. Отсоедините разъем C (49P) блока управления ЕСМ/РСМ.

    1. Проверьте неразрывность соединения между клеммой С13 разъема блока управления ЕСМ/РСМ и клеммой № 1 3Р разъема датчика MAP.
    Непрерывно ли соединение?
    ДА -
    Перейдите к Этап 23 .
    НЕТ -
    Устраните разрыв провода между компьютером ECM/PCM (С13) и датчиком МАР, затем перейдите к Этап 18 .
    1. Поверните ключ зажигания в положение блокировки "LOCK" (0).
    1. Подсоедините в обход цепи SCS диагностическую систему HDS.
    1. Отсоедините разъем C (49P) блока управления ЕСМ/РСМ.

    1. Проверьте неразрывность соединения между клеммой № 2 3Р разъема датчика МАР и "массой" кузова.
    Непрерывно ли соединение?
    ДА -
    Устраните короткое замыкание в проводе между блоком управления ECM/PCM (С11) и датчиком МАР, затем перейдите к Этап 18 .
    НЕТ -
    Перейдите к Этап 23 .
    1. Поверните ключ зажигания в положение блокировки "LOCK" (0).
    1. Заново подсоедините все разъемы.
    1. Включите зажигание, повернув ключ в положение ON (II).
    1. Сбросьте данные блока управления ECM/PCM при помощи диагностической системы HDS.
    1. Проверьте коды временных DTC или коды DTC с помощью диагностической системы HDS.
    Выводится ли код DTC P0107?
    ДА -
    Проверьте контакты и надежность крепления клемм в датчике MAP и блоке ECM/PCM, затем перейдите к Этап 1 .
    НЕТ -
    Процедура поиска неисправностей завершена. Если выводятся другие временные коды DTC или коды DTC, перейдите к поиску неисправностей в соответствии с указанными кодами DTC.■
    1. Заново подсоедините все разъемы.
    1. Проверьте коды временных DTC или коды DTC с помощью диагностической системы HDS.
    Выводится ли код DTC P0107?
    ДА -
    Проверьте надежность контактов и крепления клемм в датчике MAP и блоке управления ECM/PCM. Если было обновлено программное обеспечение блока ECM/PCM, замените блок ECM/PCM на заведомо исправный, затем проведите повторную проверку. Если модуль ECM/РСМ был заменен, перейдите к Этап 1 .
    НЕТ -
    Если было обновлено программное обеспечение блока ECM/PCM, процедура поиска неисправностей завершена. Если блок ЕСМ/РСМ был временно заменен, замените изначально установленный блок ECM/PCM. Если выводятся другие временные коды DTC или коды DTC, перейдите к поиску неисправностей в соответствии с указанными кодами DTC.■