Руководство по обслуживанию и ремонту Honda Jazz/Fit
2 поколения


Honda Jazz/Fit

  • Общая информация
  • Спецификация
  • График техобслуживания
  • Двигатель
  • Топливо и система снижения токсичности
  • Трансмиссия
  • Рулевое управление
  • Подвеска
  • Тормозная система
  • HVAC (Система отопителя, вентилятора, кондиционера)
  • Кузов
  • Средства безопасности
  • Поиск неисправностей DTC
  • Схемы электропроводки

  • Коды поиска неисправностей (DTC): P0462

    Применимость для следующих годов выпуска и кузовов: 2009, GE6, GE8

    DTC P0462:
     Низкое напряжение в цепи датчика уровня топлива (передающий блок измерителя уровня топлива)
    ПРИМЕЧАНИЕ: Перед проведением поиска неисправностей запишите все зафиксированные данные и любые данные бортовой функции "snapshot" и ознакомьтесь с общими инструкциями по устранению неисправностей.
    1. Включите зажигание, повернув ключ в положение ON (II).
    1. Сотрите коды DTC при помощи системы HDS и подождите 5 секунд.
    1. Проверьте коды временных DTC или коды DTC с помощью диагностической системы HDS.
    Выводится ли код DTC P0462?
    ДА -
    Перейдите к Этап 4 .
    НЕТ -
    Пропадающая неисправность, на момент проверки система исправна. Проверьте качество соединений и крепления клемм в модуле управления приборами и передающем блоке измерителя уровня топлива.■
    1. Поверните ключ зажигания в положение блокировки "LOCK" (0).
    1. Отсоедините разъем 4P блока топливного бака.
    1. Включите зажигание, повернув ключ в положение ON (II).
    1. Сотрите коды DTC при помощи системы HDS и подождите 5 секунд.
    1. Проверьте временные коды DTC или коды DTC с помощью диагностической системы HDS.
    Выводится ли код DTC P0463?
    ДА -
    НЕТ -
    Перейдите к Этап 11 .
    1. Поверните ключ зажигания в положение блокировки "LOCK" (0).
    1. Отсоедините 32P разъем модуля управления приборами.
    1. Проверьте неразрывность соединения между клеммой № 1 4P разъема топливного бака и "массой" кузова.
    Непрерывно ли соединение?
    ДА -
    Устраните замыкание в проводе между модулем управления приборами (линия сигнала) и передающим устройством измерителя, затем перейдите к Этап 23 .
    НЕТ -
    Перейдите к Этап 15 .
    1. Подсоедините 32Р разъем модуля управления приборной панелью.
    1. Подсоедините разъем 4P топливного бака.
    1. Включите зажигание, повернув ключ в положение ON (II).
    1. Сотрите сообщение с кодом неисправности DTC с помощью HDS.

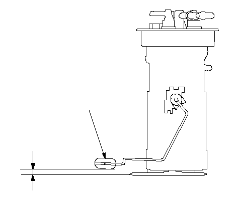
    1. Установите поплавок (А) в положение Е пустого бака (В).
    1. Проверьте измеритель топлива.
    Двигается ли измеритель к положению пустого бака?
    ДА -
    Перейдите к Этап 29 .
    НЕТ -
    1. Поверните ключ зажигания в положение блокировки "LOCK" (0).
    1. Заново подсоедините все разъемы.
    1. Установите детали в последовательности, обратной снятию.
    1. Включите зажигание, повернув ключ в положение ON (II).
    1. Сбросьте данные блока управления ECM/PCM при помощи диагностической системы HDS.
    1. Проверьте временные коды DTC или коды DTC с помощью диагностической системы HDS.
    Выводятся ли коды временных DTC или коды DTC?
    ДА -
    Если показывается код DTC P0462, проверьте качество контакта и крепления клемм модуля управления приборами и передающего блока измерителя уровня топлива, затем перейдите к Этап 1 . Если выводятся другие временные коды DTC или коды DTC, перейдите к поиску неисправностей в соответствии с указанными кодами DTC.
    НЕТ -
    Процедура поиска неисправностей завершена.■
    1. Проверьте коды временных DTC или коды DTC с помощью диагностической системы HDS.
    Выводятся ли коды временных DTC или коды DTC?
    ДА -
    Если показывается код DTC P0462, проверьте качество контакта и крепления клемм модуля управления приборами и передающего блока измерителя уровня топлива, затем перейдите к Этап 1 . Если выводятся другие временные коды DTC или коды DTC, перейдите к поиску неисправностей в соответствии с указанными кодами DTC.
    НЕТ -
    Если было обновлено программное обеспечение блока ECM/PCM, процедура поиска неисправностей завершена. Если блок ЕСМ/РСМ был временно заменен, замените изначально установленный блок ECM/PCM.