Система PGM-FI
Программируемая система впрыска топлива (PGM-FI) представляет собой распределенную систему впрыска топлива последовательного действия.
Реле электромагнитной муфты включения компрессора кондиционера воздуха (А/С)
Когда компьютер ЕСМ получает команду на включение кондиционера воздуха, он задерживает на некоторое время подачу питания к компрессору кондиционера воздуха и обогащает смесь, чтобы обеспечить плавный переход к работе с включенным кондиционером воздуха.
Датчик отношения массы воздуха к массе топлива (А/F)
Датчик A/F работает в широком диапазоне состава смеси воздуха с топливом. Датчик A/F устанавливается на входе в трехкомпонентный каталитический нейтрализатор (TWC) и посылает сигналы в компьютер ЕСМ, который, соответственно, изменяет продолжительность впрыскивания топлива.
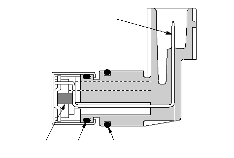
ОТОПИТЕЛЯ
ДАТЧИКА
Датчик барометрического давления (BARO)
Датчик BARO установлен внутри компьютера ЕСМ. Он преобразует величину атмосферного давления в сигнал напряжения, который корректирует базовую продолжительность процесса впрыска топлива.
Датчик положения распределительного вала (CMP)
Датчик CMP определяет положение цилиндра № 1 в качестве эталонного для управления последовательным впрыскиванием топлива в каждый цилиндр.
Датчик положения коленчатого вала (ПКВ)
Датчик ПКВ определяет частоту вращения коленчатого вала, момент опережения зажигания и момент начала впрыскивания топлива для каждого цилиндра, а также определяет пропуски сгорания в цилиндрах двигателя.
Датчики 1 и 2 температуры охлаждающей жидкости (ЕСТ)
Датчики ЕСТ 1 и 2 представляют собой резисторы, которые изменяют свое сопротивление в зависимости от температуры (терморезисторы). Сопротивление снижается по мере повышения температуры охлаждающей жидкости двигателя.
Датчик уровня масла в двигателе
Этот датчик определяет уровень моторного масла.
КОЛЬЦО
Управление углом опережения зажигания
Компьютер ЕСМ содержит в своей памяти базовые зависимости угла опережения зажигания при различных частотах вращения двигателя и абсолютного давления. Компьютер также корректирует угол опережения зажигания в зависимости от температуры охладающей жидкости и температуры воздуха на впуске.
Момент начала и продолжительность впрыскивания топлива
Компьютер ЕСМ содержит в своей памяти базовые зависимости продолжительности впрыскивания топлива при различных частотах вращения двигателя и давления воздуха во впускном коллекторе. Базовая величина продолжительности впрыскивания топлива, после того, как она считывается из памяти компьютера, далее корректриуется в соответствии с сигналами, посылаемыми от различных датчиков, для получения окончательной величины продолжительности впрыскивания.
Отслеживая в течение длительного времени параметры процесса впрыскивания топлива, компьютер ЕСМ определяет неисправности, возникающие в системе впрыскивания топлива в течение длительного времени, и генерирует диагностический код неисправности (DTC).
Датчик детонации
Система борьбы с детонацией регулирует угол опрежения зажигания с целью снижения детонации до минимального уровня.
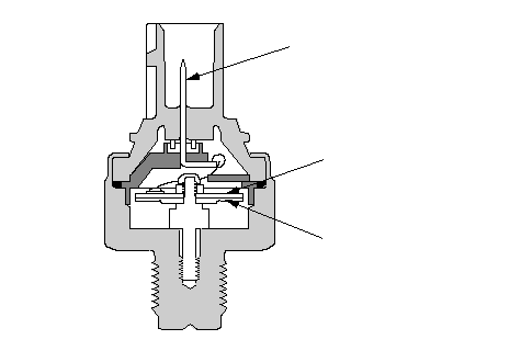
Датчик абсолютного давления воздуха во впускном коллекторе (МАР)
Датчик датчик абсолютного давления во впускном коллекторе (МАР) преобразует абсолютное давление воздуха во впускном коллекторе в электрические сигналы, поступающие к компьютер ЕСМ.
КОЛЬЦО
Датчик массы воздушного потока (MAF) /датчик температуры впускного воздуха (IAT)
Датчик массы воздушного потока (MAF)/датчик температуры впускного воздуха (IAT) содержит нить накала и терморезистор. Он расположен во впускном воздушном канале. Сопротивление нити накала и терморезистора меняется в зависимости от температуры впускного воздуха и воздушного потока. Цепь регулирования в датчике MAF контролирует ток для поддержания установленной температуры нити накала. Цепь регулирования преобразует ток в напряжение, которое подводится к ECM..
ВОЗДУХА НА ВПУСКЕ (IAT)
(ТЕРМИСТОР)
Датчик оборотов вторичного (промежуточного) вала
Этот датчик определяет частоту вращения промежуточного вала.
КОЛЬЦО
Вторичный подогреваемый кислородный датчик (вторичный датчик HO2S)
Вторичный кислородный датчик (HO2S) определяет содержание кислорода в отработавших газах на выходе из трехкомпонентного каталитического нейтрализатора (TWC) и посылает сигналыв компьютер ECM, что соответственно изменяет продолжительность впрыскивания топлива. Для стабилизации своего выходного сигнала датчик имеет встроенный подогреватель. Компьютер ЕСМ сравнивает сигнал датчика HO2S с сигналом датчика A/F для определения эффективности работы каталитического нейтрализатора. Вторичный кислородный датчик (HO2S) расположен в трехкомпонентном каталитическом нейтрализаторе.
ДАТЧИКА
ОТОПИТЕЛЯ


