Впускная система
Данная система обеспечивает двигатель необходимым количеством воздуха.
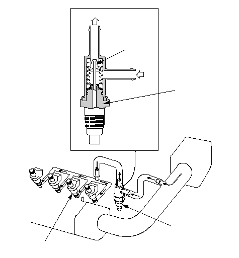
Клапан Управления Температурой Перепускаемого Впускного Воздуха
Как только двигатель остыл, клапан управления температурой перепускаемого впускного воздуха направляет воздух к инжектору.
Количество подаваемого воздуха определяется температурой охладающей жидкости. Как только двигатель нагрелся, клапан управления температурой перепускаемого впускного воздуха направляет воздух к инжектору.
ТЕМПЕРАТУРОЙ
ПРОПУСКАЕМОГО
ВПУСКНОГО ВОЗДУХА


