Руководство по обслуживанию и ремонту Honda Accord
8 поколения

Honda Accord

  • Общая информация
  • Спецификация
  • График техобслуживания
  • Двигатель
  • Топливо и система снижения токсичности
  • Трансмиссия
  • Рулевое управление
  • Подвеска
  • Тормозная система
  • HVAC (Система отопителя, вентилятора, кондиционера)
  • Кузов
  • Средства безопасности
  • Поиск неисправностей DTC
  • Схемы электропроводки

  • Замена переключателя режимов трансмиссии

    Применимость для следующих годов выпуска и кузовов: 2009, CU1

    Модель двигателя R20A3
    1. Поднимите автомобиль на подъемнике и убедитесь, что он надежно зафиксирован в этом положении.
    1. Установите рычаг переключения передач в положение N.
    1. Снимите крышку переключателя положения передач.

    1. Отсоедините разъем переключателя режимов трансмиссии.
    1. Снимите переключатель режимов коробки передач.

    1. Убедитесь, что вал управления селектором находится в положении N. При необходимости переместите рычаг селектора из положения Р в положение N.
      ПРИМЕЧАНИЕ: Не устанавливайте положение селектора вала управления. Сжатие концов может привести к появлению неправильного сигнала датчика включенной передачи или люфту между валом управления и датчиком рычага переключения режимов коробки передач.

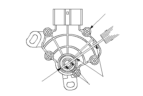
    1. Установите новый переключатель режимов трансмиссии (A) в положение N. Совместите прорези (В) на вращающейся рамке с прорезями нейтрального положения (С) на переключателе режимов, затем вставьте щуп (D) (2,0 мм) или аналогичный инструмент в прорези для установки положения N на переключателе режимов трансмиссии.
      ПРИМЕЧАНИЕ: Убедитесь, что используете щуп 2,0 мм или аналогичный инструмент для установки переключателя в положение N.

    1. Осторожно установите переключатель режимов (А) на валу управления (В), удерживая его в положении N 2,0 мм щупом (C).

    1. После установки переключателя диапазонов в положении N затяните болты. Не допускайте перемещения переключателя диапазонов при затяжке болтов. Выньте щуп.

    1. Аккуратно подсоедините разъем, затем установите крышку переключателя диапазонов трансмиссии (А).
    1. Включите зажигание, повернув ключ в положение ON (II). Последовательно переместите рычаг селектора во все положения и проверьте синхронизацию переключателя диапазонов по индикатору режимов.
    1. Убедитесь, что двигатель заводится в положениях P и N и не заводится в других положениях рычага селектора.
    1. Убедитесь, что при рычаге переключения передач, установленном в положение R, загораются фонари включения передачи заднего хода.
    1. Сделайте так, чтобы передние колеса свободно крутились, запустите двигатель и проверьте работу механизма переключения.