Руководство по обслуживанию и ремонту Honda Accord
8 поколения

Honda Accord

  • Общая информация
  • Спецификация
  • График техобслуживания
  • Двигатель
  • Топливо и система снижения токсичности
  • Трансмиссия
  • Рулевое управление
  • Подвеска
  • Тормозная система
  • HVAC (Система отопителя, вентилятора, кондиционера)
  • Кузов
  • Средства безопасности
  • Поиск неисправностей DTC
  • Схемы электропроводки

  • Перебор суппорта переднего тормоза

    Применимость для следующих годов выпуска и кузовов: 2009, CU1, CU2


    Покомпонентное изображение - 1-поршневой тип тормозного суппорта

    Покомпонентное изображение - 2-поршневой тип тормозного суппорта
    Частое вдыхание пыли, образующейся в результате износа тормозных накладок независимо от их материала, может иметь вредные последствия для вашего здоровья.
    • Избегайте попадания частиц пыли, образующейся в результате износа тормозных накладок, в дыхательные пути.
    • Не используйте сжатый воздух или кисти для очистки узлов тормозных механизмов. Используйте подходящий пылесос.

    ПРИМЕЧАНИЕ:
    Тип 2-поршневого суппорта: Убедитесь, что штифты суппорта установлены правильно. Верхний штифт суппорта В и нижний штифт суппорта А разные. Если штифты суппорта установлены не в отведенных для них местах, это станет причиной неравномерного износа шин, вибрации и неравномерного или преждевременного износа тормозных колодок.
    • Не проливайте тормозную жидкость на кузов автомобиля - это может вызвать разрушение лакокрасочного покрытия. Если тормозная жидкость попала на лакокрасочное покрытие, немедленно смойте ее водой.
    • Чтобы предотвратить вытекание тормозной жидкости, необходимо закрывать отверстия в отсоединенных шлангах ветошью или технической салфеткой.
    • Промойте все детали тормозной жидкостью и продуйте сжатым воздухом; также продуйте сжатым воздухом все каналы.
    • Перед повторной сборкой проверьте, что все детали очищены от грязи и других посторонний частиц.
    • Замените части деталей новыми, как показано на рисунках.
    • Обеспечьте, чтобы грязь или продукты износа не попали внутрь системы.
    • Убедитесь, что на поверхности тормозных дисков или тормозных колодок нет смазки или масла.
    • Всегда устанавливайте тормозные накладки в первоначальные места при повторном их использовании, в противном случае будет снижена эффективность торможения.
    • Не используйте повторно слитую тормозную жидкость. Используйте только чистую оригнальную тормозную жидкостьHonda DOT 3 или DOT 4 Brake Fluid из закрытого контейнера. Использование тормозной жидкости, не предназначенной Honda может вызвать коррозию и снизить общий срок службы систем.
    • Смажьте поверхность поршня, канавку с уплотнителем на поршне и расточку в скобе чистой тормозной жидкостью.
    • Каждый раз при разборке заменяйте все резиновые детали новыми.
    • Тип 2-поршневого суппорта: Для комплекта переднего суппорта используйте рекомендованные смазочные вещества.
    • После установки суппортов убедитесь, чтобы тормозные шланги и трубопроводы не имели повреждений, не задевали других деталей и не были перекручены.
    • При нанесении силиконовой смазки убедитесь, что она не попадает на клеммные части разъемов и смежных датчиков. Также не прикасайтесь к клеммным частям разъемов датчиков руками или рукавицей, в которой вы наносите силиконовую смазку.
    Разборка суппорта 1-поршневого типа
    1. Снимите корпус тормозного суппорта.
    1. Подложите к корпусу суппорта (В) деревянный брусок (A) или несколько технических салфеток, как показано на рисунке. При помощи сжатого воздуха осторожно извлеките поршень, затем снимите его.
      ПРИМЕЧАНИЕ: Не пытайтесь руками разобрать суппорт, потому что поршень извлекается из своего корпуса с трудом.

    1. Снимите манжету поршня (А) и уплотнение (В) с корпуса (С).
      ПРИМЕЧАНИЕ: Будьте осторожны, чтобы не повредить инструментами внутреннюю поверхность цилиндра.

    Повторная сборка суппорта 1-поршневого типа
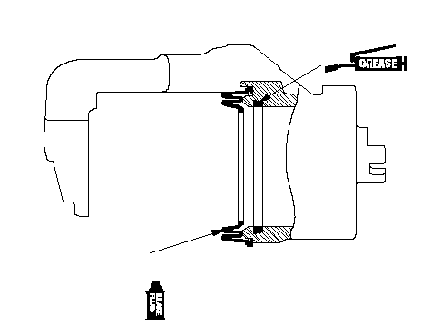
    1. Нанесите тонкий слой смазки для резиновых изделий на новое уплотнение поршня (A), затем установите его в канавку в корпусе поршня.
    1. Смажьте новую манжету поршня (B) тормозной жидкостью, установите ее в канавку в корпусе суппорта.
    1. Нанесите тормозную жидкость на наружную поверхность поршня, затем установите его на место в корпусе тормозного суппорта.

    1. Установите компрессор (А) поршня тормозного суппорта (продается в магазинах) на корпус суппорта (В).
    1. Вдавите поршень внутрь при помощи компрессора поршня тормозного суппорта. Убедитесь, что манжета поршня установлена в канавку поршня надлежащим образом.
      ПРИМЕЧАНИЕ:
      • Не нажимайте на поршень по диагонали и не вдавливайте его с силой.
      • При установке поршня будьте осторожны, чтобы не повредить манжету.
    1. Установите корпус тормозного суппорта.

    Разборка суппорта 2-поршневого типа
    1. Снимите корпус тормозного суппорта.
    1. Установите компрессор (А) поршня тормозного суппорта (продается в магазинах) на корпус суппорта (В), как показано на рисунке. При помощи сжатого воздуха осторожно извлеките поршни из корпуса тормозного суппорта.
      ПРИМЕЧАНИЕ: Не пытайтесь руками разобрать суппорт. Поршень может случайно выскочить из корпуса суппорта.

    1. Снимите манжеты (А) поршней и уплотнения (В) с корпуса (С).
      ПРИМЕЧАНИЕ: Будьте осторожны, чтобы не повредить инструментами внутреннюю поверхность цилиндра.

    Повторная сборка суппорта 2-поршневого типа
    ПРИМЕЧАНИЕ: Диаметры двух поршней не одинаковы. Соблюдайте осторожность при установке поршней, а также их уплотнений и манжет.
    1. Смажьте новые уплотнения поршней (А) тормозной жидкостью, установите их в канавки (В) в корпусе суппорта.

    1. Нанесите тонкий слой силиконовой смазки на новые манжеты поршней (A), затем установите их в канавки (В) в корпусе поршня.
    1. Нанесите тормозную жидкость на наружную поверхность поршней (С), затем установите их на места в корпусе тормозного суппорта.

    1. Установите компрессор (А) поршня тормозного суппорта (продается в магазинах) на корпус суппорта (В).
    1. Вдавите поршни внутрь при помощи компрессора поршня тормозного суппорта.
      ПРИМЕЧАНИЕ:
      • Не пытайтесь устанавливать поршень по диагонали и не вдавливайте его с силой.
      • При установке поршня будьте осторожны, чтобы не повредить манжету.

    1. Убедитесь, что манжеты поршней (A) правильно установлены в канавки (B) поршня и канавки (C) в корпусе суппорта.
    1. Установите корпус тормозного суппорта.